五华区71家企业入选!云南省认定机构2024年认定报备的第一批高新技术企业备案名单公布

近日,全国高新技术企业认定管理工作领导小组办公室发布《对云南省认定机构2024年认定报备的第一批高新技术企业进行备案的公告》,对云南省认定机构2024年认定报备的第一批803家高新技术企业备案名单(详见附件)予以公告。


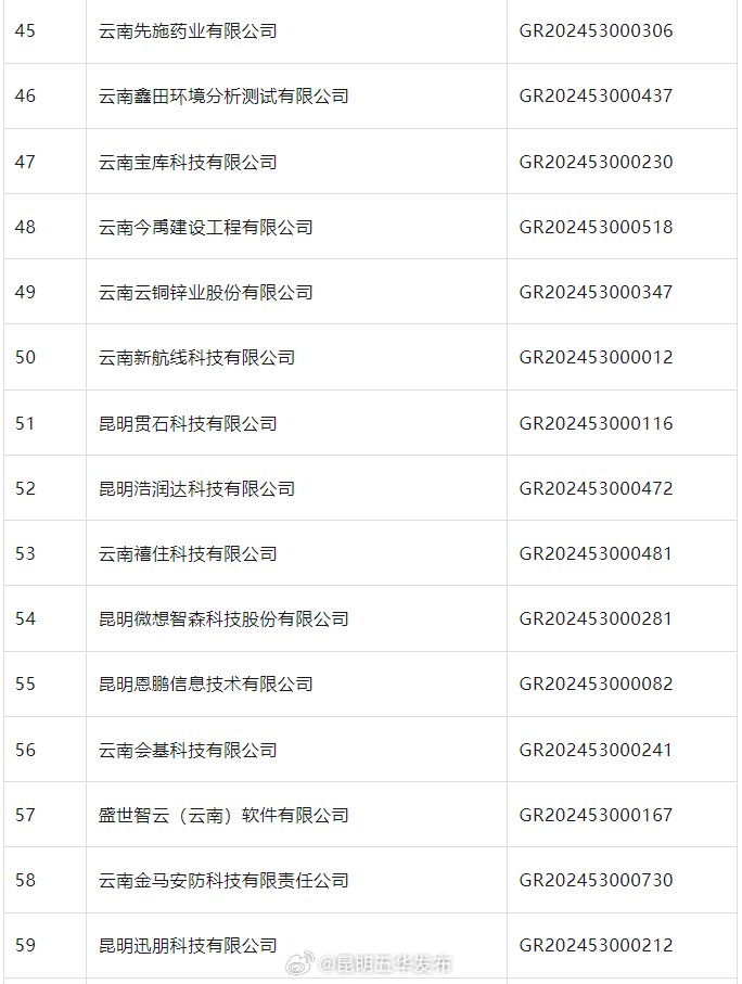
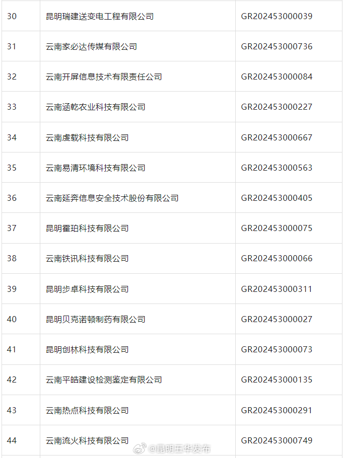
其中,五华区共71家企业入选,名单如下:五华区71家企业入选!云南省认定机构2024年认定报备的第一批高新技术企业备案名单公布


昆明五华发布


昆明五华发布


昆明五华发布


昆明五华发布


昆明五华发布

本文由昆明信息港机器人小明转载自"昆明五华发布"
广告热线: (0871)65364045  新闻热线: (0871)65390101
24小时网站违法和不良信息举报电话: 0871-65390101  举报邮箱: 2779967946@qq.com