
1月10日消息,知名鞋企贵人鸟发布公告称公司名变更为金鹤农业。
据公告,贵人鸟股份有限公司(以下简称“公司”)于2024年12月6日、12月24日分别召开第五届董事会第四次会议、2024 年第六次临时股东大会,各自审议通过了《关于变更公司名称暨证券简称的议案》。

新公司已经完成工商变更登记手续,并取得营业执照,名称为金鹤农业股份有限公司(下称“金鹤农业”)。
贵人鸟到金鹤农业的变化,不仅是名称的变更,企业的重要经营领域也从运动鞋服转向鲜食米饭。
曾是“运动鞋王”
刘德华、张柏芝等曾为其代言
公开资料显示,贵人鸟股份有限公司成立于2004年,是一家老牌的国产运动厂商,主要从事“贵人鸟”品牌运动鞋服的研发、生产和销售,作为曾经的中国“鞋王”,一度赢得不少消费者的喜爱。
2002年,贵人鸟邀请刘德华担任品牌形象代言人,品牌迅速在竞争激烈的体育用品市场抢占一席之地。次年,张柏芝出任形象大使,品牌热度持续攀升,还斩获 “产品质量国家免检”等诸多荣誉。
昔日刘德华代言图
此后,贵人鸟一路高歌猛进,2010年签约11位世界顶级斯诺克球星,如奥沙利文、亨德利等,还携手中国国家队男子举重总教练陈文斌、WCBA金牌教练隋菲菲等5位知名教练,不断拓展品牌影响力。
2014年,贵人鸟迎来高光时刻,成功登陆上交所,成为中国A股运动鞋服第一股。上市一年后,贵人鸟股价最高达到了69.37元,市值突破400亿元,远超李宁。创始人林天福也因此身价暴涨,荣膺“泉州首富”。
经营不善被终止上市
然而,辉煌未能延续。因经营不善,贵人鸟市值持续缩水。2020年9月,贵人鸟市值缩水超过96%,仅剩不足15亿元。同年,贵人鸟被债权人申请破产重整。重整后,贵人鸟尝试调整业务,2022年7月,贵人鸟以自有资金投资设立全资子公司上海米程莱贸易有限公司,发力粮食贸易业务,开启“运动鞋服+粮食贸易”的双主业经营模式。
但这并未止住贵人鸟的颓势。2022年,贵人鸟全年业绩由盈转亏,全年营收为21.08亿元,同比增长48.56%,净利润为-941.4万元,同比下降了102.61%。
林天福也陷入困境,从泉州首富沦为被限制高消费对象。
2024年3月22日,ST贵人收到上交所终止上市决定书,因长达20个交易日收盘价低于1元,触及退市底线,停牌前股价仅0.67元/股,市值大幅缩水至11亿元。
破产重组的贵人鸟退出鞋服业务
跨行业“自救”注入粮食业务
据了解,金鹤农业最大股东为黑龙江泰富金谷网络科技有限公司,该公司专注大米销售、粮食贸易、仓储加工等业务,涉及粮食供应链平台和订单农业合作等多个维度。早在2021年,启动破产重组的贵人鸟开启跨行业“自救”,引入重整投资人黑龙江泰富金谷网络科技有限公司,后者将粮食业务注入。
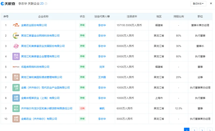
2022 年7月,其所属公司泰富金谷通过购买贵人鸟集团(香港)有限公司的股份,以20.36%的股份成为贵人鸟控股股东,李志华成为实际控制人;8月12日,经董事会选举,李志华出任贵人鸟公司董事长。
图源天眼查
2023年9月,贵人鸟股份有限公司发公告宣布,其打算优化调整公司经营业务,逐步退出运动鞋服业务。



审核:钟玲

往/期/回/顾
云南一地为两名弃婴寻找生父母
打破纪录!云南小伙杨绍辉,夺国内第一
溢价150%!今天第一天,很多人拿到转手就卖


