再次下调!
来源:掌上春城微信2023-05-31


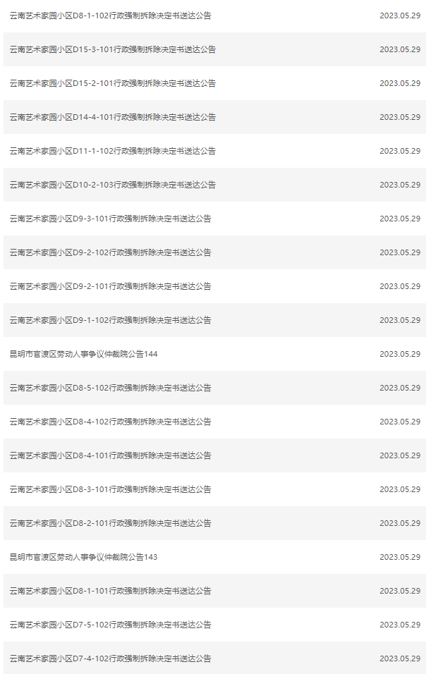
5月29日
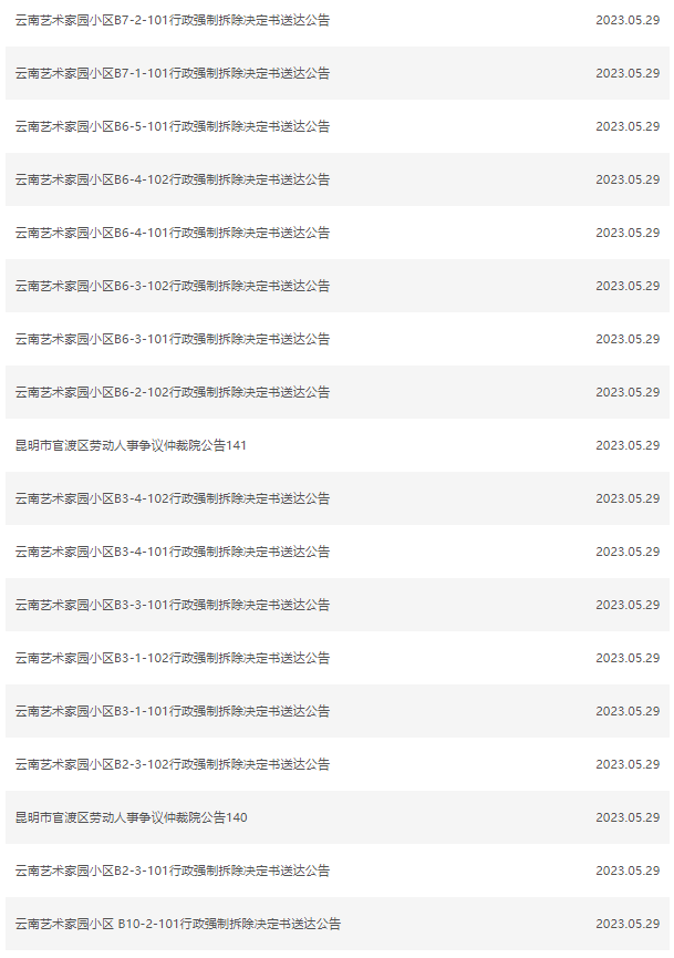
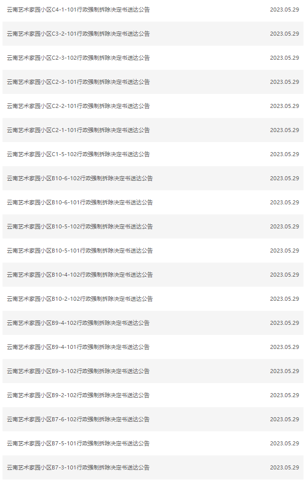
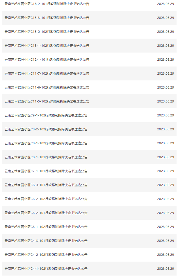
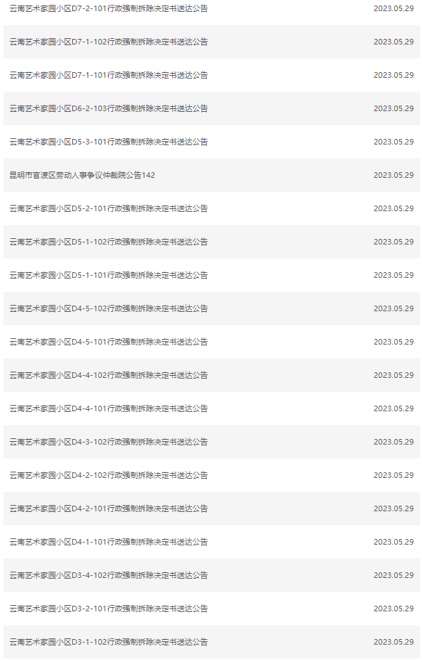
官渡区人民政府网发布93份
行政强制拆除决定书送达公告

上下滑动查看完整内容
↓





公告内容涉及云南艺术家园小区
93户一楼住户
未办理建设工程规划许可证
擅自占用公共绿化搭建设施
部分业主还硬化了地面
并用围栏围合花园
↓


根据官渡区城管局下达的《行政强制拆除决定书送达公告》,要求93户业自公告之日起30日内,到官渡街道办事处领取《昆明市官渡区城市管理局行政强制拆除决定书》,并在限期拆除违建,若有异议可在60日内向官渡区人民政府申请行政复议,也可在6个月内向官渡区人民法院提起诉讼。如果逾期未申请行政复议也未提起诉讼同时也不履行处罚决定,该批违建将被强制拆除。
行政强制拆除决定书
↓

来源:昆明信息港、官渡区人民政府网
觉得不错,点个
和
转发起来!